

|
公称转柜
N·m |
许用转速
r/min |
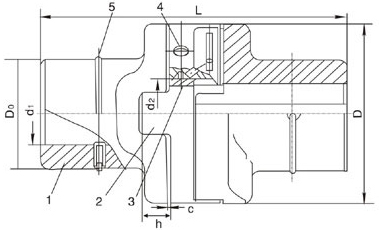
d1
|
D0
|
D
|
L
|
h |
d2
|
c
|
质量
kg |
|
120
|
|
15
|
32
|
70
|
95
|
10
|
18
|
0.5+0.30
|
1.5
|
|
17
|
20
|
1.47
|
|||||||
|
18
|
22
|
1.43
|
|||||||
|
250
|
20
|
45
|
90
|
115
|
12
|
25
|
2.68
|
||
|
25
|
30
|
2.55
|
|||||||
|
30
|
34
|
2.60
|
|||||||
|
500
|
36
|
60
|
110
|
160
|
16
|
40
|
5.57
|
||
|
40
|
45
|
5.21
|
|||||||
|
800
|
45
|
80
|
130
|
200
|
20
|
50
|
10.00
|
||
|
50
|
55
|
9.46
|
|||||||
|
1250
|
55
|
95
|
150
|
240
|
25
|
60
|
15.40
|
||
|
60
|
65
|
14.46
|
|||||||
|
2000
|
65
|
105
|
170
|
275
|
30
|
70
|
22.41
|
||
|
70
|
75
|
21.29
|
|||||||
|
3200
|
75
|
115
|
190
|
310
|
34
|
80
|
31.50
|
||
|
80
|
85
|
29.80
|
|||||||
|
5000
|
95
|
130
|
210
|
355
|
38
|
90
|
10+0.30
|
44.77
|
|
|
90
|
95
|
42.46
|
|||||||
|
8000
|
95
|
140
|
240
|
395
|
42
|
100
|
59.44
|
||
|
100
|
105
|
57.02
|
|||||||
|
10000
|
|
110
|
170
|
280
|
435
|
45
|
115
|
91.50
|
|
|
120
|
130
|
84.29
|
|||||||
|
16000
|
130
|
190
|
320
|
485
|
50
|
140
|
129.55
|
||
|
140
|
150
|
120.0
|
|||||||
|
20000
|
150
|
210
|
340
|
550
|
55
|
160
|
162.55
|
注:半联轴器和十字滑块材料:45钢,ZG310-570,表面淬火46~60HRC:套筒材料:Q235A钢。
凸榫与凹榫工作面压强验算:
P=6TcD/(D3-d31)h ≤ 【p】
式中
T8——计算转矩,N·m;
D——十字滑块的外径,mm;
d1——十字滑块的内径,mm;
h——十字滑块凸榫的高度,mm;
【p】许用压强,当半联轴器和十字滑块均为淬火钢,润滑良好,【p】=15~30MPa。当半联轴器为淬火钢,十字滑块为铸铁;
【p】=10~15MPa。

江苏省泰兴减速机总厂
采购 泰兴减速机 请选择百强减速机有限公司(原 泰兴减速机总厂)
全国咨询电话: 400-710-9918 传真:0510-80212333/85516654/85508340
座机:0510-80212111/80212555/80210978/85519221/85518416/85511836
邮箱:1051532995@qq.com 地址:无锡市解放北路16号